BTA16-600B双向可控硅晶闸管应用及详细资料,电子发烧友网站提供各种电子电路,电路图,原理图,IC资料,技术文章,免费下载等资料,是广大电子工程师所喜爱电子资料网站。 欢

晶闸管(可控硅)应用详细介绍 - 电子百科 - 电子
523x334 - 7KB - GIF

晶闸管(可控硅)应用详细介绍 - 电子百科 - 电子
601x301 - 2KB - GIF

晶闸管(可控硅)应用详细介绍 - 电子百科 - 电子
600x236 - 5KB - GIF

晶闸管(可控硅)应用详细介绍 - 电子百科 - 电子
500x212 - 7KB - GIF

【双向可控硅交流调速应用】_双向可控硅交流
400x300 - 15KB - JPEG

快速GTO(门极可关断晶闸管-可控硅)主要参数及
2020x2322 - 182KB - GIF

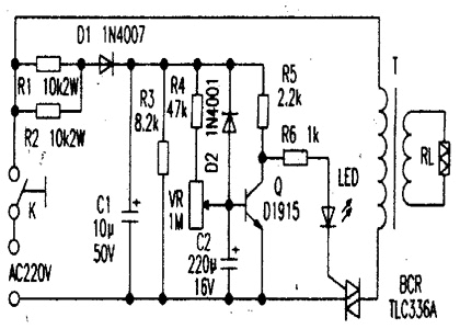
tlc336a双向可控硅应用电路图
420x300 - 41KB - GIF

晶闸管(可控硅)应用详细介绍 - 电子百科 - 电子
300x185 - 3KB - GIF

【图】可控硅移相触发器KC06应用电路图可控
431x557 - 93KB - PNG

杭州国晶 晶闸管可控硅模块MTC70A1600V的
1024x768 - 102KB - JPEG

moc3083上的典型应用电路可控硅==www.ic37
590x399 - 86KB - JPEG

双向可控硅结构原理图和应用电路-电子电路图
580x270 - 24KB - JPEG

晶闸管触发电路应用实例
848x481 - 61KB - JPEG

【图】可控硅移相触发器的应用-DJK3型三相异
2327x1632 - 871KB - PNG

可控硅-晶闸管的几种典型应用
526x390 - 36KB - JPEG