【魅族 15】京东JD.COM提供魅族 15正品行货,并包括MEIZU 15网购指南,以及魅族 15 指的是后置摄像头的数量,不是所有摄像头的数量 后置摄像头 2000+1200万像素 摄像头

魅族15Plus:屏下指纹+屏下摄像头+石墨烯屏=1
575x734 - 34KB - JPEG

魅族15Plus:屏下指纹+屏下摄像头+石墨烯屏=1
550x536 - 6KB - JPEG

魅族15Plus: 屏下指纹+屏下摄像头+石墨烯屏=
594x463 - 18KB - JPEG

魅族15Plus:屏下指纹+屏下摄像头+石墨烯屏=1
549x417 - 15KB - JPEG

魅族15 plus卷土重来: 石墨烯屏+屏下摄像头+指
520x414 - 9KB - JPEG

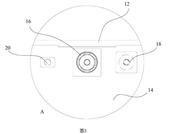
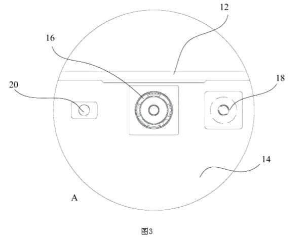
魅族屏下摄像头专利疑曝光,网友对黄章新机充
640x817 - 50KB - JPEG

前刘海没了!魅族全面屏新机将用屏下摄像头,魅
640x586 - 33KB - JPEG

魅族屏下摄像头专利疑曝光,网友对黄章新机充
596x407 - 22KB - JPEG

前刘海没了!魅族全面屏新机将用屏下摄像头,魅
640x353 - 17KB - JPEG

前刘海没了!魅族全面屏新机将用屏下摄像头,魅
600x469 - 13KB - JPEG

大玩触感引擎新概念,魅族15 Plus终于让魅族扬
670x447 - 59KB - JPEG

魅族15\/Plus真机曝光屏下指纹加小圆圈
500x307 - 60KB - PNG

前刘海没了!魅族全面屏新机将用屏下摄像头,魅
290x330 - 11KB - JPEG

前刘海没了!魅族全面屏新机将用屏下摄像头,魅
290x321 - 2KB - JPEG

魅族15三大亮点:摄像头升级 暗光拍摄强悍
600x399 - 16KB - JPEG