当我们退役的时候,这个后路的问题就成了摆在很多官兵面前的一道难题。有的有很多种选择,有的却只有一种选择;有的很快便能确定好自己的出路方向,有的却在一片迷茫中寻

退伍军人的出路有哪些? 怎么才能成为公务员?
640x391 - 197KB - PNG

退伍军人学什么技能好就业?退伍军人的出路在
500x482 - 50KB - JPEG

退伍军人的另一出路--健身教练
600x600 - 233KB - JPEG

退伍军人学什么技能好就业?退伍军人的出路在
450x300 - 129KB - JPEG
退伍军人安置的六条出路,哪一条最好?_hao12
640x401 - 37KB - JPEG

退伍军人八条出路:没有最好,只有适合!-北京时
800x434 - 39KB - JPEG

退伍军人八条出路:没有最好,只有适合!
960x640 - 61KB - JPEG

退伍军人的出路,退伍军人学什么好 - 长沙北大
883x313 - 71KB - JPEG

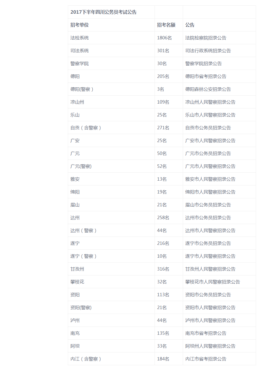
退伍军人考公务员享有特权,退伍军人的出路有
905x1293 - 76KB - PNG

退伍军人有出路了,有编制!初中退伍军人月薪达
394x298 - 30KB - JPEG
湖南北大青鸟 退伍军人难寻出路 学习技术创造
510x417 - 126KB - GIF

退伍军人最好的出路,参加这三种考试有政策支
620x464 - 104KB - JPEG
退伍军人八条出路:没有最好,只有适合!
640x400 - 42KB - JPEG

退伍军人的出路干货:是继续留队还是出去打拼
640x427 - 58KB - JPEG

退伍军人八条出路:没有最好,只有适合!
640x427 - 45KB - JPEG