随着经济的发展和科技的进步,汽车变得越来越智能,越来越高效。各个品牌的汽车工程师和设计师们也在不断研究和创新,让驾驶变得更加轻松和安全。但谁曾想,就连最简单的雨刷机构,从诞生之日起几乎就没有太大变化的设计,如今也即将进行革新。
大家都知道,传统的雨刷器其实就是一个小电机加齿轮组,通过齿轮转动,带动雨刮片扫过挡风玻璃,并充分地与挡风玻璃相接触,刮去雨水、尘土等影响驾驶员视野的遮盖物。因此,雨刷器最重要的作用,就是保持前方视野的清晰。

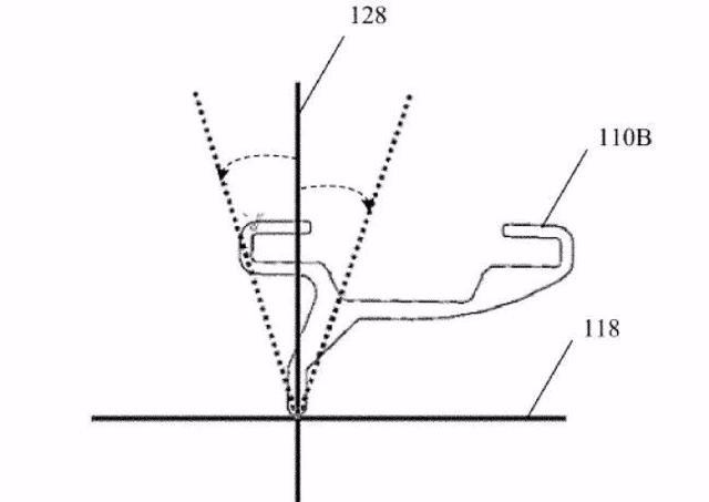
但在工程师们看来,汽车上的任何一个零部件,都可以做得更加极致。不久前,特斯拉申请了一个电磁式雨刷设计专利,可以说让我们对雨刷有了一个全新的认识。不同于传统的雨刷机构,特斯拉所研发的这款雨刷,采用了电磁原理。在发动机盖的后方,挡风玻璃的底部,设计有两条磁性导轨。一个带有磁性的滑块连接着雨刷臂以及雨刮片。当电流通过磁铁和线圈时,滑块会在导轨上滑动,就像磁悬浮列车那样,从而保证雨刮片在挡风玻璃上快速移动。


当然,配合单刮片的设计,这种电磁式雨刷在不需要使用时能够更好地隐藏在引擎盖的下方。不仅更加美观,也降低了风阻和风噪。与此同时,相比于传统双刮片的设计,电磁单刮片雨刷可覆盖的面积更大,也更加贴紧挡风玻璃。


这种全新的电磁式雨刷,其最大的优势在于它的高效。传统的雨刷,其整个机械结构会产生比较大的摩擦,因此就需要更多的能量来驱动雨刷电机。而全新研发的电磁雨刷,由于电磁铁本质上是没有摩擦的,所以雨刷机构唯一的摩擦来自于雨刷臂刮动时所产生的阻力,因此整体消耗的电能很小。所节省的能量,或许对于燃油车来讲微不足道,但是对于电动车来说,任何一个零部件效率的提升,都会让续航里程得以增加。

另一方面,传统的雨刷,相比于全新的电磁雨刷,会随着时间的增加,恶劣天气及使用环境的影响,更容易产生疲劳磨损,导致清洁效果降低。如果不及时更换雨刮片,会对驾驶员的视野产生影响,能见度在不足时,甚至有可能会妨碍自动驾驶的摄像头或其他传感器正常工作,这对于自动驾驶系统来说也是一种安全隐患。


总的来说,虽然全新电磁式雨刷目前尚处于研发初期,不知道何时会投入量产,或许最后产品的成型与专利图还会有出入。但至少,特斯拉在进行全新的尝试,真的有可能带来雨刷的一次革命性升级。