排水管DN50的直径是多少MM推荐回答:DN50表示公称直径为50mm,即2寸管,16分管。附管径换算表:1英寸=25. dn50的管子直径怎么算 来源:frcn2r 2017年2月24日 阅读:1185

沈阳量具厂批发零售 精密派(π)尺 测量管轴直
500x331 - 19KB - JPEG

4一定要检查管的直径和管壁厚度是不是符合标
1024x768 - 497KB - JPEG

玻璃管直径测量仪器产品信息,购买玻璃管直径
600x480 - 77KB - JPEG

用游标卡尺测量硬币直径
400x600 - 25KB - JPEG

【德诺工具 大号PVC铝塑管子割刀 专用于切割
265x210 - 6KB - JPEG

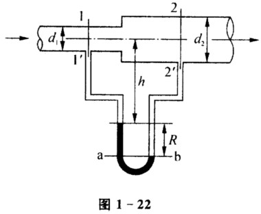
为测量直径由d1=40 mm到d2=80 mm的突然扩
380x312 - 15KB - JPEG

MD3033 机油\/自动变速箱压力表
350x370 - 27KB - JPEG

玻璃管透明管外径直径测量仪
533x363 - 17KB - JPEG

(3)他们使用千分尺测量金属丝的直径,示数如上
427x307 - 15KB - JPEG

怎么样测量区别M10螺纹和1\/8管螺纹-1\/8管螺纹
500x333 - 28KB - JPEG

小直径管的壁厚测量选宇时先锋UM-2超声波测
500x888 - 65KB - JPEG

怎么样测量区别M10螺纹和1\/8管螺纹-1\/8管螺纹
240x400 - 26KB - JPEG

怎么样测量区别M10螺纹和1\/8管螺纹-1\/8管螺纹
240x400 - 23KB - JPEG

玻璃管微拉丝棒材管材线材直径测量仪器,其他
614x526 - 54KB - JPEG

如习题25附图所示,用U形管液柱压差计测量等
172x230 - 13KB - JPEG