为什么当电压增大到一定值时电流不变?电压再增大时,场强也就增大,那电子的运动速度 看楼下说考纲结论是光电效应和电压无关。为了不误导高中生,只能说这是低压近似,毕

为什么光电效应中有饱和电流?
800x600 - 198KB - JPEG

光电效应-在线《辞海》速查手册
350x253 - 10KB - JPEG

在光电效应实验中,先后用两束光照射同一个光
331x213 - 10KB - PNG

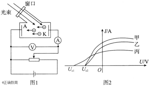
如图1所示,在研究光电效应实验中某同学用甲、
283x154 - 15KB - PNG

光电效应中饱和光电流与入射光频率的关系研究
800x1168 - 285KB - PNG

关于光电效应的饱和电流 ?
948x918 - 238KB - PNG

光电效应中饱和电流大小与频率有关吗?书上好
270x378 - 68KB - JPEG

关于光电效应中的饱和光电流?
1080x1920 - 275KB - JPEG

关于光电效应中的饱和光电流?
1080x1920 - 383KB - JPEG

用同一光电管研究a、b两种单色光产生的光电
196x173 - 2KB - PNG

老师您好,光电效应中的饱和光电流大小与什
550x333 - 12KB - JPEG

研究光电效应实验电路图如图1所示,其光电流与
510x293 - 41KB - PNG

?眉头拧成疙瘩中的拧的读音是什么,光电效应实
1192x811 - 147KB - JPEG

在光电效应实验中.用同一种单色光.先后照射锌
470x193 - 35KB - PNG

用同一光电管研究a、b两种单色光产生的光电
227x187 - 6KB - JPEG