依据当年度的岗位编制情况及企业发展战略,晋职晋级 人数比例情况如下: (一) 原则上不得对未有编制的岗位进行人员的晋职, 如有因业 务发展需要增编晋升的情况,需先进行增编

晋职申请书 - 晋职晋级理由 - 是常见的被辞退理
600x863 - 84KB - JPEG

军人体重达标挂钩晋职晋级 我军将推行《军事
401x582 - 54KB - JPEG

晋职申请书 - 晋职晋级理由 - 是常见的被辞退理
400x565 - 79KB - JPEG

教职工晋职晋级奖惩制度.doc下载-支持高清免
993x1404 - 155KB - PNG

(教职工晋职晋级奖惩制度.doc
794x1123 - 9KB - PNG

烟台:在职公务员欠钱不还将影响晋职晋级(图)-
619x413 - 94KB - JPEG

山东考评医德群众能当考官 将与晋职晋级挂钩
422x600 - 42KB - JPEG

军人晋职晋级与体重挂钩_海南新闻中心_海南
223x440 - 12KB - JPEG

郑州师德一票否决制挂钩评优评先晋职晋级 老
400x234 - 8KB - JPEG

广电回原单位工作人员关于要求职称晋职晋级的
720x1280 - 58KB - JPEG

会综治被一票否决 领导一年内不得晋职晋级-中
427x300 - 23KB - JPEG

晋职、晋级、调薪管理制度.docx
794x1123 - 32KB - PNG

无锡公安87人因考核未通过丢掉官帽
498x354 - 26KB - JPEG

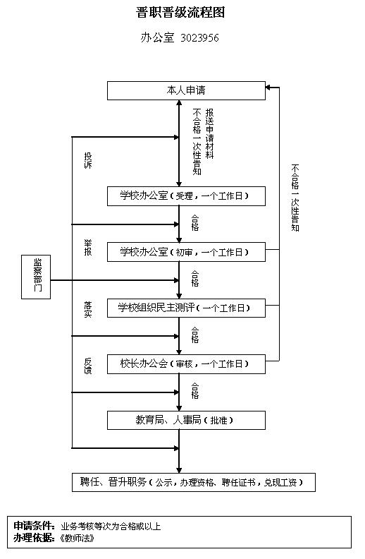
晋职晋级流程图
518x792 - 46KB - JPEG

邳州市院:检察长有约--新晋职晋级干警勤政廉政
750x499 - 120KB - JPEG