复旦大学硕士学位论文半导体标准产品成本计算在SAP中的定制姓名:郑欣申请学位级别:硕士专业:管理科学与工程指导教师:凌鸿 20030522摘要 ss{8s1用SAP实施ERP系统是

高功率半导体激光器的过去与未来
650x358 - 31KB - JPEG

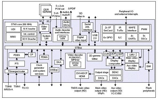
ST支持AVS标准的低成本IPTV解决方案 - 技术
554x340 - 24KB - GIF

ST支持AVS标准的低成本IPTV解决方案 - 技术
553x352 - 45KB - GIF

ST支持AVS标准的低成本IPTV解决方案 - 技术
553x291 - 19KB - GIF

莱迪思半导体宣布首个符合PCI Express 2.0规
623x463 - 27KB - JPEG

ST支持AVS标准的低成本IPTV解决方案 - 技术
554x318 - 17KB - GIF

供应最新方案矽力杰SY58294FAC,成本低,稳定
600x337 - 26KB - JPEG

CSA联盟标准技术研讨会将于5月8日在常州召
1024x826 - 88KB - JPEG

半导体照明标准和测试方法教程分析.ppt免费全
1152x864 - 241KB - PNG

意法半导体新的机顶盒芯片降低成本,支持最新
227x160 - 27KB - GIF

恩智浦半导体:标准确立会引导行业走上正轨 -
598x463 - 178KB - JPEG

ST意法半导体推出新款低成本的标准解析度电
200x183 - 9KB - JPEG

照明新标准解读与实践探索 - OFweek半导体照
640x357 - 73KB - JPEG

森丁彦辉:让零首付成为LED显示屏行业标准 -
793x669 - 100KB - JPEG

二箱式半导体行业测试 适用标准 哪家质量好_
960x422 - 919KB - PNG