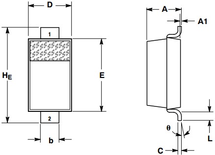
二、1N14148概述 IN4148是一种小型的高速开关二极管(规格书下载地址: ),属于高频小 常见的有0603、0805和1206三种厚膜贴片封装。具体外形尺寸如下: 4、1N4148二极管

超强底价1n4148+(1206封装)
378x265 - 13KB - JPEG

优势1N4148LL4148贴片二极管
723x799 - 109KB - JPEG

1N4148WS T4二极管贴片SOD-323封装,1N41
518x674 - 73KB - JPEG

【先科ST原装正品 1N4148W 封装SOD-123 贴
724x1024 - 65KB - JPEG

供应贴片二极管1N4148 LL34 圆柱封装
463x270 - 33KB - PNG

贴片二极管封装图 贴片二极管封装尺寸 贴片电
438x316 - 19KB - JPEG

贴片二极管 1N4148 玻璃封装 LL34
836x430 - 25KB - PNG

圆形的玻璃封装的贴片二极管,外形和1N4148很
669x380 - 60KB - JPEG

ST 贴片 开关二极管 LL4148 1N4148 1206封装
1000x750 - 80KB - JPEG
![[图]供应贴片二极管LL4148 &nbs,维库电子市场](http://www.dzsc.com/uploadfile/company/843934/b20111212113837913.jpg)
[图]供应贴片二极管LL4148 &nbs,维库电子市场
640x480 - 46KB - JPEG

原装正品SMD贴片二极管1N4148 T4环保无铅
627x552 - 32KB - JPEG

贴片开关二极管_贴片开关二极管 in4148 1n41
611x828 - 120KB - JPEG

二极管-扬晶原厂销售贴片二极管SS310 SMC封装
440x600 - 47KB - JPEG

1N4148 A SOD-523 0603封装 IN4148 贴片41
305x229 - 17KB - JPEG

开关二极管1n4148封装是插件do-35贴片ll-34
310x233 - 11KB - JPEG