TL494集成电路引脚功能和数据中文介绍 新茗源电子厂|2018-06-29 |举报 共享文档 共享文档是百度文库用户免费上传的可与其他用户免费共享的文档,具体共享方式由上传人自

电动车集成块TL494引脚功能表_金桥电子网-家
600x282 - 43KB - JPEG

电动车集成块TL494引脚排列及内部结构框图_
600x349 - 51KB - JPEG

tl494引脚图及引脚功能描述
281x275 - 10KB - GIF

TL494引脚图及引脚功能描述
281x275 - 10KB - GIF

开关电源脉宽调制\/控制\/驱动TL494CN引脚功能
684x397 - 47KB - JPEG

开关电源脉宽调制\/控制\/驱动TL494CN引脚功能
477x451 - 54KB - JPEG

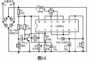
集成块4011,cd4011各引脚功能图
394x247 - 16KB - JPEG

常用集成电路型号及管脚引脚功能排列图-+电子
465x405 - 7KB - GIF

开关电源脉宽调制\/控制\/驱动TL494CN引脚功能
298x311 - 25KB - JPEG

tl494cn功能 请问那位高手知道tl494cn的技术参
500x375 - 92KB - JPEG

电动车集成块IR2184引脚功能_金桥电子网-家电
240x148 - 12KB - JPEG

TL494脉宽调制控制电路 车载逆变器的电路原
385x470 - 36KB - JPEG

在线观看tl494引脚图_点阵引脚图_8*8led点阵
335x195 - 17KB - JPEG

ATX电源的控制电路讲解(TL494及LM339集成
1454x842 - 218KB - GIF

子网,电子资料网,家电维修网,电路图纸,集成块资
281x275 - 12KB - GIF