慧聪网汽车振动传感器微门户,集合了关于汽车振动传感器的丰富内容,为用户提供各种汽车振动传感器的供求信息价格,汽车振动传感器资讯,汽车振动传感器图片,汽车振动传感

汽车防盗器用振动传感器 图片
1024x768 - 54KB - JPEG

其他汽车安全用品-汽车震动器\/振动感应器震动
400x300 - 31KB - JPEG

供应光电传感器 汽车传感器 振动传感器 光电速
750x750 - 65KB - JPEG

汽车防盗器两极振动传感器(图)
310x233 - 11KB - JPEG

汽车振动器,振动感应器震动传感器, 摩托车 汽车振动传感器
640x480 - 89KB - JPEG

【汽车防盗器单级两级振动传感器(图)价格_汽
209x280 - 20KB - JPEG

【8元促销汽车振动器振动感应器震动传感器摩
750x498 - 91KB - JPEG

汽车振动传感器振动探测器震动感应器汽车防盗
1024x708 - 72KB - JPEG

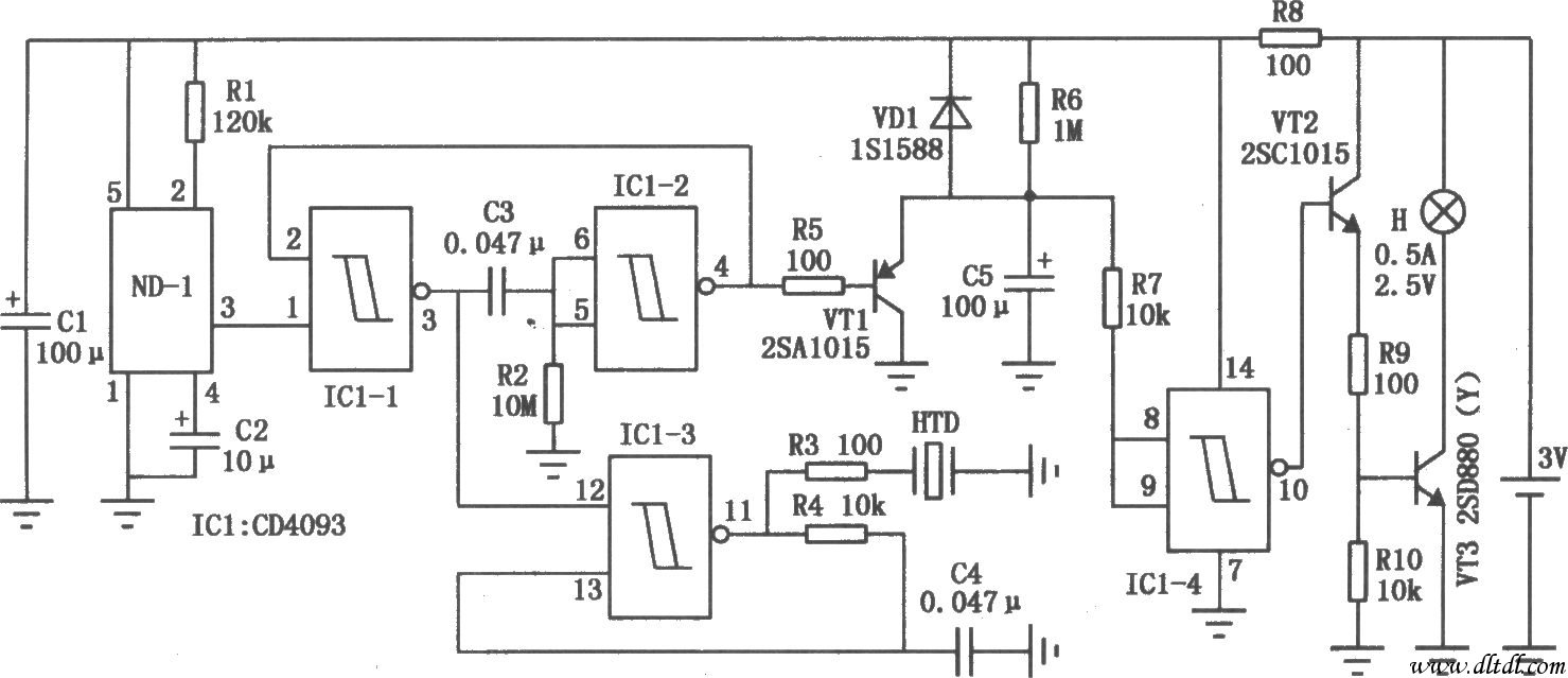
汽车振动报警器,解决方案
1479x639 - 110KB - JPEG

茗茶网 摩托车 汽车 超高灵敏度振动传感器模块
758x476 - 70KB - JPEG
ctc振动传感器
800x600 - 21KB - JPEG

其他家居智能产品-汽车振动传感器 震动传感器
710x710 - 65KB - JPEG

汽车振动传感器振动探测器震动感应器汽车防盗
1024x708 - 65KB - JPEG

常开 震动传感器模块 震动开关 振动传感器模块
750x562 - 465KB - JPEG

防盗器-汽车振动传感器 震动传感器 代替压电片
310x310 - 24KB - JPEG