今年 7月,KeyBanc Capital Markets分析师 Andy Hargreaves就提到,苹果仍然在努力将 Touch ID集成在屏幕下,同时很多的分析师也认为 iPhone X很可能会因此推迟发布。而且还

无边框iphone6概念机 侧面按键也变触摸
489x435 - 34KB - JPEG

iPhone 6大变样 屏幕变大电源键在侧面
600x600 - 35KB - JPEG

苹果三项技术专利侧面证实iPhone 6采用蓝宝石
500x290 - 81KB - PNG

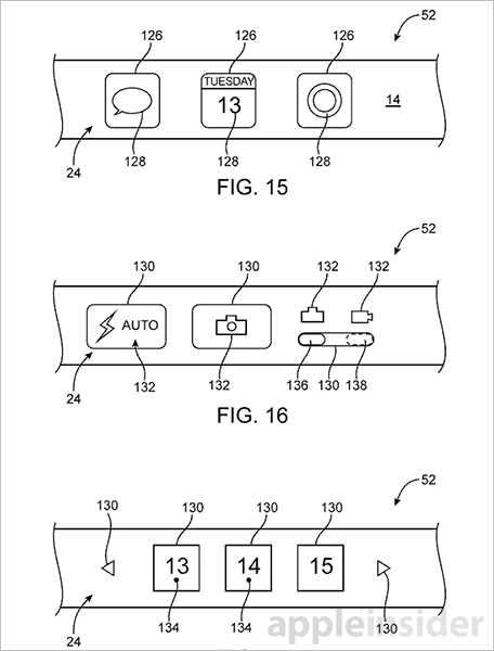
苹果新专利:iPhone6侧面也有屏幕,配备虚拟按
549x320 - 21KB - JPEG
![[求助]iPhone5s 从侧面看 从右往左看 屏幕偏红](http://www.fengimg.com/data/attachment/forum/201406/15/200718nyug0ufm4euypbe0.jpg)
[求助]iPhone5s 从侧面看 从右往左看 屏幕偏红
1024x576 - 141KB - JPEG

武汉iPhone6大屏看剧更爽分期只需4580
640x471 - 48KB - JPEG

学三星?未来iPhone可能配备柔性侧面屏|三星|苹
560x385 - 35KB - JPEG

苹果新专利:iPhone 侧面也有屏幕,配备虚拟按钮
550x438 - 91KB - PNG

【室内效果3图】iPhone4S多彩色侧面图片 图
800x600 - 66KB - JPEG

苹果新专利:iPhone 侧面也有屏幕,配备虚拟按钮
660x498 - 83KB - PNG

iphone x屏幕发黄怎么解决?苹果iphone x屏幕发
544x593 - 35KB - JPEG

iphone x屏幕发黄怎么解决?苹果iphone x屏幕发
454x652 - 70KB - JPEG

苹果新专利:iPhone 侧面也有屏幕,配备虚拟按钮
456x600 - 74KB - PNG

大屏iPhone6,苹果大屏iPhone6,大屏iPhone6苹
480x343 - 62KB - JPEG

难以置信!iPhone 7屏幕真科幻-iPhone 7,苹果
600x497 - 111KB - JPEG