
苹果也是如此 揭秘手机从研发到上市的全过程
500x208 - 26KB - JPEG

黑莓推出第三款Android手机,传苹果正秘密研发
700x466 - 49KB - JPEG

安洁科技称参与苹果手机新机种研发 苹果概念
837x487 - 89KB - JPEG

苹果正在研发可更换镜头的iPhone5手机壳-iPh
450x371 - 36KB - JPEG

好掌柜最新研发手机柜台-苹果手机店摆放图
600x449 - 45KB - JPEG

【供应四平苹果背景墙 辽源苹果手机体验柜台
680x462 - 58KB - JPEG

传苹果将推曲面屏手机 新传感器研发中-IT168
500x375 - 22KB - JPEG

效仿苹果?谷歌可能要研发自主手机芯片
640x445 - 73KB - JPEG

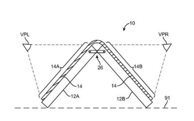
苹果研发折叠手机,担心三星窃取创意
539x312 - 28KB - JPEG

供应四平苹果背景墙 辽源苹果手机体验柜台研
680x510 - 39KB - JPEG

传Facebook挖角苹果员工研发智能手机
500x375 - 48KB - JPEG

iPhoneX停产后有替代品 苹果秘密研发新手机
640x455 - 32KB - JPEG

苹果联合LG研发折叠手机 折叠手机会成为另一
480x280 - 52KB - JPEG

苹果研发折叠手机,担心三星窃取创意
669x417 - 23KB - JPEG
手机销量下滑 苹果提高研发费用来补救 - 今日
550x309 - 22KB - JPEG