抽油机(俗称“磕头机”) 1、概述抽油机是开采石油的一种机器设备,俗称“磕头机”,通 想了解一下抽油机的工作原理和他组成的基本配件的示意图 红酒七分醉 2009-04-04 提

CY500型抽油机节能增油变频柜整体结构图_变
386x527 - 65KB - JPEG

抽油机结构图
608x576 - 54KB - JPEG

台达游梁式抽油机解决方案助力油田实现高质量
545x339 - 99KB - PNG

变频技术在游梁式抽油机上的应用- 控制工程网
420x305 - 43KB - JPEG

20\/PM250再生回馈型变频器在游梁式抽油机上
413x337 - 32KB - JPEG

抽油机集中润滑系统 - 抽油机集中润滑系统厂家
280x210 - 12KB - JPEG

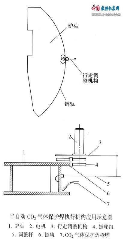
O sub 2 \/sub 气体保护焊工艺技术提高抽油机结
413x798 - 33KB - JPEG

采用co2气体保护焊工艺技术进步抽油机结构件
413x798 - 33KB - JPEG

偏心平衡抽油机-新闻-能源新闻-能源网(nengyu
554x382 - 30KB - JPEG

浅谈我国抽油机电控装置的发展
368x275 - 14KB - GIF

变频器在石油化工生产中抽油机控制系统的应用
500x385 - 66KB - JPEG

双井抽油机机架结构应力分析与结构优化-力学
800x1262 - 267KB - PNG

采用CO2气体保护焊工艺技术进步抽油机结构
413x798 - 33KB - JPEG

unturned未转变者的抽油机怎么用,我放对地方了
603x321 - 52KB - JPEG

肇庆新闻-折扣优惠-企业资讯-便民服务-明珠资
423x316 - 25KB - JPEG