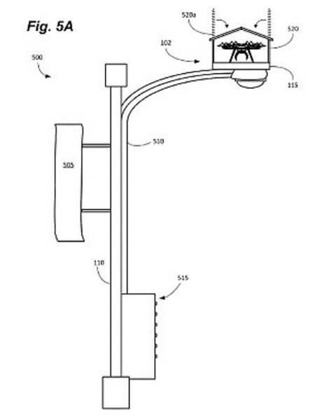
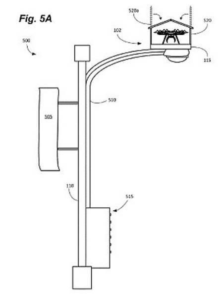
亚马逊无人机空艇快递 其实,早在几年前,亚马逊就开始尝试用无人机送快递了。但是无人机的续航时间很短,往往不超过半小时,远程控制距离也受限
据外媒报道,亚马逊准备使用无人机空艇配送快递。从目前放出的视频来看,这个来自亚马逊的巨无霸和百年前风靡全球的飞艇非常像,但它里面并没
亚马逊无人机空艇快递 其实,早在几年前,亚马逊就开始尝试用无人机送快递了。但是无人机的续航时间很短,往往不超过半小时,远程控制距离也受限
亚马逊无人机空艇快递 其实,早在几年前,亚马逊就开始尝试用无人机送快递了。但是无人机的续航时间很短,往往不超过半小时,远程控制距离也受限
亚马逊无人机空艇快递 其实,早在几年前,亚马逊就开始尝试用无人机送快递了。但是无人机的续航时间很短,往往不超过半小时,远程控制距离也受限
红警+星际?亚马逊“空艇母舰”释放快递无人机 红警+星际?亚马逊“空艇母舰”释放快递无人机 按住此条可拖动 相关视频 猜你喜欢 正在加载.请稍等~ 发布时间:2019-04-03
快递员要失业了,亚马逊无人机空艇母舰准备使用无人机配送快递 特别声明:本站不提供任何视听上传服务,所有视频内容均来自视频分享站点所提供的公开引用资源
【黑科技资讯】亚马逊无人机空艇母舰已开始配送快递 科技趣味科普人文2019-04-01 13:16:35 426播放 · 1弹幕未经作者授权,禁止转载 动态微博QQQQ空间贴吧 将视频贴到
亚马逊无人机空艇母舰已开始使用无人机配送快递快递员要失业了,亚马逊无人机空艇母舰已开始使用无人机配送快递 登录同步各端记录 立即下载优酷PC客户端,看片免广告!

空中航母?亚马逊飞艇快递曝光 里面全是无人机
600x383 - 18KB - JPEG

空中航母?亚马逊飞艇快递曝光 里面全是无人机
600x382 - 15KB - JPEG

亚马逊继续无人机快递计划发想 加入空艇航母
491x368 - 129KB - JPEG

红警+星际?亚马逊空艇母舰释放快递无人机
639x360 - 14KB - JPEG

亚马逊继续无人机快递计划发想 加入空艇航母
600x363 - 35KB - JPEG

亚马逊继续无人机快递计划发想 加入空艇航母
600x336 - 46KB - JPEG

亚马逊继续无人机快递计划发想 加入空艇航母
680x254 - 16KB - JPEG

空中航母?亚马逊飞艇快递曝光 里面全是无人机
600x351 - 15KB - JPEG

亚马逊继续无人机快递计划发想 加入空艇航母
600x400 - 55KB - PNG

空投快递到你家门口 亚马逊无人机配送项目再
400x300 - 23KB - JPEG

空投快递到你家门口 亚马逊无人机配送项目再
666x444 - 161KB - PNG

亚马逊启用大型空中飞艇送货?快递小哥别慌
686x284 - 33KB - PNG

亚马逊疯了!为了让快递早点送到你家,居然造了
450x599 - 12KB - JPEG

LEGO 乐高 星球大战系列 沙漠浮空艇(Desert S
300x300 - 15KB - JPEG

亚马逊疯了!为了让快递早点送到你家,居然造了
640x360 - 15KB - JPEG