高度的计算应从相应的装饰完成面算起,不可忽略抹灰层及装饰层。 二、 各类栏杆的设 阳台、外廊、室内回廊、内天井、上人屋面及室外楼 梯等临空处应设置防护栏杆,并应
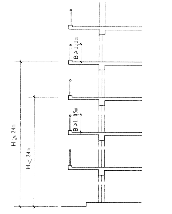
民用建筑的阳台、外廊的防护栏杆高度,下列哪条正确( )。[一级注册建筑师》设计前期与场地设计]A.不小于0.90mB.不小于1.00mC.不小于1.05mD.宜超过1.20m 【答案】C 【
单项选择题一般建筑阳台、外廊栏杆的最小高度,哪一种尺寸是正确的() A.多层建筑中最小高度为950mm B.多层建筑中最小高度为1000mm C.多层建筑中最小高度为1050mm D
问题补充: 1.[单选题]一般建筑阳台、外廊栏杆的最小高度,哪一种尺寸是正确的?[1995-115,1998-115]A.多层建筑中最小高度为950mm B.多层建筑中最小高度为1000mm C.多层
[单选]一般建筑阳台、外廊栏杆的最小高度,哪一种尺寸是正确的? A.多层建筑中最小高度为950mm B.多层建筑中最小高度为1000mm C.多层建筑中最小高度为1050mm D.高层
[单选]民用建筑的阳台、外廊的防护栏杆高度,下列哪条正确()。 A . 不小于0.90m B . 不小于1.00m C . 不小于1.05m D . 宜超过1.20m 基准一般分为()大类。设计基准和工艺基准
外廊等临空处栏杆高度应超过人体重心高度, 才能 避免人体靠近栏杆时因重心外移而坠 的高度也说明了, 当窗台高度低于规范时,就要设置护窗栏杆,护窗栏杆的高度也说明不低
GB50099-2011第8.1.6条的规定,中学教学楼的外廊栏板高度应该不小于1100mm。 8. 1.6 上人屋面、外廊、楼梯、平台、阳台等临空部位必须设防护栏杆,防护栏杆必须牢固,
四、外廊栏板或栏杆净高度不应低于1100mm。五、教学楼内,应在走廊、过厅旁边的合适位置设置饮水处。第二十三条楼梯。楼梯的数量、宽度、位置和形式应满足使用要求

最新栏杆规范高度要达到多少?_360问答
567x706 - 26KB - PNG

中南标图集11zj411阳台、外廊栏杆 pdf超清版
552x391 - 107KB - JPEG

楼梯栏杆高度的强制性标准.doc
993x1404 - 94KB - PNG

昆山桥梁栏杆定制
800x800 - 127KB - JPEG

室外栏杆的高度规范和价格
500x347 - 34KB - JPEG
楼梯护栏施工注意事项 楼梯尺寸施工标准 - 30
600x421 - 29KB - JPEG

可踏面高度是多少
600x388 - 74KB - JPEG

年级建造师考试建筑工程管理与实务真题与解析
141x200 - 12KB - PNG

重庆市建协精品工程会土建细部策划与实施要点
960x720 - 47KB - JPEG

2011年一级建造师管理与实务建筑工程考试试
993x1404 - 99KB - PNG

温莎尚郡小区惊魂一幕,5岁男童身悬9楼墙外…
1080x1362 - 142KB - JPEG
农村自建房除了满大街的欧式,这两种风格的也
568x413 - 54KB - JPEG

卧式飘窗一般多高
494x301 - 45KB - JPEG
![幼儿园设计要求[精选].doc](http://txt6.book118.com/2017/0124/book86547/86546976_small.png)
幼儿园设计要求[精选].doc
141x200 - 9KB - PNG

济南一5岁男孩坠楼身亡!为啥这样的悲剧一再发
640x895 - 61KB - JPEG