因为绝大多数公募买的大宗交易折价率都很低,甚至是平价。偶尔还有溢价,这是吃饱了撑的!二级不能买?我无法揣测他们的买入理由,只能用脑袋被门夹了来解释---当然你要说基

海康威视现9.64亿元大宗交易 折价近10%
398x280 - 8KB - JPEG

过亿大宗交易仅1股 5股折价逾10%成交仅210
502x227 - 15KB - PNG

大宗交易回暖:有的折价14%,有的溢价15%,你会
640x704 - 46KB - PNG

大宗解读:视觉中国亿元成交 藏格控股5次超10
717x474 - 60KB - PNG

上海热线财经频道-- 10月沪深300ETF大宗交易
578x276 - 9KB - PNG

非折价大宗交易个股日增 11月再创新高
500x300 - 58KB - JPEG

大宗交易依然火爆权重股折价率飙升
500x239 - 27KB - JPEG

谁在出货?格力电器三笔折价大宗交易成交超7
580x330 - 50KB - JPEG

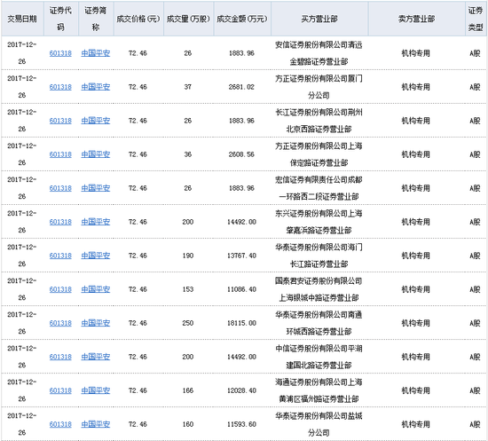
中国平安逾10亿折价大宗交易 月内遭机构卖出
550x497 - 160KB - PNG

第一创业股价今日冲击涨停 大宗交易资金仍折
329x316 - 3KB - PNG
A股见底了?逾八成大宗交易折价抛售 重要股东
636x466 - 46KB - JPEG

75亿资金借道大宗交易抢筹 非折价成交占五成
300x529 - 104KB - JPEG

创业板11亿股解禁致股价暴涨 大宗交易大幅折价
500x374 - 64KB - JPEG

方正证券大宗交易折价率达18%
578x276 - 8KB - PNG

A股见底了?逾八成大宗交易折价抛售 重要股东
544x428 - 72KB - JPEG