
HAZOP分析法
1080x680 - 25KB - JPEG

HAZOP分析指南PPT
1080x810 - 110KB - JPEG

LNG接收站的HAZOP分析_word文档在线
642x243 - 36KB - JPEG

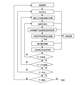
PSMSuite、HAZOP软件、智能HAZOP分析
554x567 - 49KB - JPEG

简析 HAZOP分析的三大特点
293x407 - 35KB - PNG

危险与可操作性分析(HAZOP)培训
1080x608 - 40KB - JPEG

HAZOP分析报告
1095x401 - 52KB - JPEG

HAZOP分析步骤及技术关键
500x338 - 73KB - JPEG

《危险与可操作性分析(HAZOP分析)应用导
939x500 - 305KB - JPEG

潜在危险的预先识别--HAZOP技术在间歇
415x252 - 94KB - JPEG

HAZOP分析指南
220x220 - 6KB - JPEG

《危险与可操作性分析(HAZOP分析)应用导
800x800 - 97KB - JPEG

hazop
270x278 - 28KB - PNG
风险评估技术-8危险与可操作性分析(HAZOP)
500x345 - 14KB - JPEG

对HAZOP风险评价方法的改进与常见误解
667x665 - 24KB - JPEG