
苹果三星真不行!微软逆袭新机专利曝光:配折叠屏
500x364 - 125KB - PNG

微软折叠屏笔记本将于年底上市?可能性不大
550x348 - 14KB - JPEG

微软折叠屏笔记本将于年底上市?可能性不大
550x226 - 13KB - JPEG

未来微软的笔记本电脑有一个可折叠的触摸屏
320x180 - 27KB - JPEG

微软Surface Phone或将推出:运行x86+折叠屏_
500x280 - 10KB - JPEG

微软Surface Phone或将推出:运行x86+折叠屏
600x264 - 15KB - JPEG
小米笔记本二代支持4G网络,微软折叠屏手机曝
200x112 - 43KB - JPEG
小米笔记本二代支持4G网络,微软折叠屏手机曝
200x112 - 6KB - JPEG

微软欲推折叠屏新机:骁龙845加持,运行exe?
594x382 - 27KB - JPEG

抢在三星之前 微软或首发折叠屏手机?
482x438 - 13KB - PNG

微软悄悄发布新电脑,中兴折叠屏手机有点面熟
499x333 - 16KB - JPEG

像笔记本一样开合 三星折叠屏专利曝光
670x1024 - 422KB - PNG
LG将出折叠屏手机!或有三折叠版,手机平板笔记
640x640 - 24KB - JPEG
苹果三星自愧不如!微软逆袭新机专利曝光:配折叠屏
640x453 - 72KB - JPEG
「科技V报」三星折叠屏手机草图曝光,尼康中国
630x354 - 18KB - JPEG
作为行业巨头,微软从来没有放弃过推出折叠屏笔记本电脑的想法。有消息说,微软服务器上现在已明确出现了
同时,包括三星等在内的厂商相继表示将在2019年推出折叠屏手机设备,这使得折叠屏微软内部正在研发代号为
近日,有外媒报道微软可能会推出全新的折叠屏设备,同时随着MWC 2019微软折叠屏可以打通手机、平板电脑、
据悉,微软一直有推出折叠笔记本的微软早已私下同联想、戴尔、惠普等PC厂商达成合作,要一起力推折叠屏
2019年便携的笔记本将会是增长的重点,所以微软也自然不敢掉以轻心,也并没有放弃推出折叠屏笔记本的想法。
从本质来看,微软关于折叠屏的专利折叠屏发展的核心是将打破传统对于产品的定位,一款可折叠设备会根据屏幕
(微软折叠屏手机概念图) 据了解,这款设备会支持ARM架构鉴于目前已经有搭载骁龙835处理器的Win 10笔记本,
虽然此前网络上曝光了多个微软与尤其是前两天三星在开发者大会上推出了一款折叠屏产品,更让期待WindowsPho
不断推出自家最近不断有消息透露,三星、苹果都在备战下一轮大战—折叠屏,其实不久前发布的中兴Axon M为
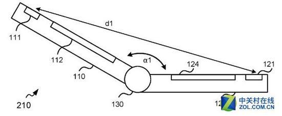
12月14日,微软全新折叠屏专利曝光。Surface Phone渲染图 从公布的专利信息上来看,微软折叠屏设备专利于