
小米折叠屏手机疑似上手, 三折造型比三星对折
1024x688 - 99KB - JPEG
折叠屏新机曝光:三折结构,MIUI 10系统
720x405 - 11KB - JPEG

折叠屏新机曝光:三折结构,搭载MIUI 10系统
720x405 - 13KB - JPEG

折叠屏新机曝光:三折结构,MIUI 10 系统
640x324 - 22KB - JPEG

折叠屏新机曝光:三折结构,MIUI 10 系统
640x324 - 23KB - JPEG

小米折叠屏手机疑似上手, 三折造型比三星对折
1000x1822 - 140KB - JPEG

小米折叠屏手机疑似上手, 三折造型比三星对折
1024x567 - 28KB - JPEG
折叠屏新机曝光:三折结构,MIUI 10系统
720x405 - 19KB - JPEG

折叠屏新机曝光:三折结构,MIUI 10 系统
640x324 - 39KB - JPEG

折叠屏新机曝光:三折结构,MIUI 10 系统
640x324 - 40KB - JPEG

小米折叠屏手机疑似上手, 三折造型比三星对折
1079x810 - 353KB - JPEG

小米折叠屏手机疑似上手, 三折造型比三星对折
1000x1501 - 62KB - JPEG

小米折叠屏手机疑似上手, 三折造型比三星对折
1079x668 - 61KB - JPEG

可折叠渐成风口:联想申请具有三折显示器的混
640x360 - 16KB - JPEG
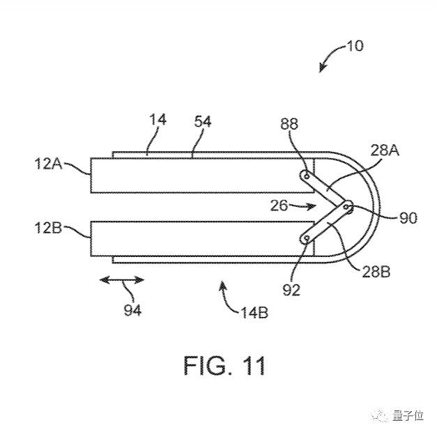
苹果提交折叠屏新专利,还能三折,未来iPhone长
627x623 - 22KB - JPEG
2019年最热门的手机新技术当然是可折叠手机,通过搭载进入可用化阶段的柔性屏幕,手机折叠变形的形态在消失
这段时间,华为、小米、三星等国内外厂商纷纷推出折叠屏手机,引发了不少人的关注,甚至还在2月26日在
【三星发布世界#首款折叠屏手机#售价1980美元(约合人民币13000元)】周三,三星在旧金山的发布会上发布了
北京时间2月21日凌晨三星电子在美国旧金山正式发布Galaxy Fold折叠屏手机,同步推出全新Galaxy S10系列旗舰
三星推出折叠屏手机后,2家厂商秒跟风,国产品牌推出“3折”叫板 在目前的智能手机时代,三星可以说是行业
今日科技爆料达人 evlanks 在推特上曝光了一部折叠屏新机,在他曝光的视频中可以看到这部手机搭载的是 MUI
IT之家1月4日消息 今日科技爆料达人evlanks在推特上曝光了一部折叠屏新机,在他曝光的视频中可以看到这部
【中国智能制造网 行业动态】当前最前沿科技的手机毫无疑问非折叠屏莫属,那个曾经只存在与民间渲染图中的
2月21日消息 北京时间2月21日凌晨三点,三星新品发布会开始,首先亮相的就是三星Galaxy Fold可折叠屏手机。