螺栓连接

螺栓连接相关图片

嵩明高强螺栓连接副检测怎么送检的
600x400 - 52KB - JPEG

全屏显示课程章节
400x300 - 932KB - OTHER

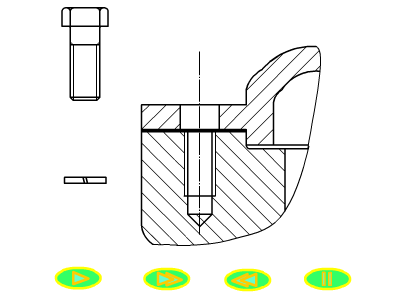
连接桅杆的载荷分析与螺钉设计
360x261 - 20KB - JPEG

全屏显示课程 章节
1064x668 - 49KB - PNG

【供应铝型材连接件-T型螺栓\/铝角码\/直角角码】价格,厂家,图片,螺栓\/螺柱,上海禹朝铝制品有限公司-马可波罗网
378x362 - 33KB - JPEG

如何提高螺栓连接的强度?
461x478 - 31KB - JPEG

【钢构知识】螺栓连接(下)_搜狐科技_搜狐网
640x389 - 49KB - JPEG

常用螺栓连接方式及特点,Ansys培训、Ansys有限元培训、Ansys workbench
208x232 - 10KB - PNG

螺栓连接方式的搜索结果_百度图片
300x225 - 13KB - JPEG

现货NLD-2热镀锌螺栓型连接器线夹拉线路保护专用连接器图片_高清图_细节图
750x690 - 73KB - JPEG

背景,螺栓,连接,复活节,法兰,气体,工业的,行业,铁,孤立的,线,金属,油,古老的,管,管道,管道工程,锈,生锈的,钢,旋塞阀,管,阀门,白色
680x1023 - 123KB - JPEG

背景,螺栓,连接,法兰,气体,工业的,行业,铁,孤立的,金属,油,古老的,管,管道,管道工程,锈,生锈的,钢,旋塞阀,管,阀门,白色
1024x680 - 187KB - JPEG

500毫米闸阀,斧头,螺栓,螺栓连接,夹紧,黏土,衣领,建设,控制轴,角,喝的水系统,韧性,设备,紧固件,适合的,燃料,垃圾桶,工业的,行业,铁,共同的,泄漏,金属,泥,油,着色的,管,管道,管道,管道压力,修复的轭,修理,锈,螺丝钉,完蛋了,拧紧工具,密封,密封圈,备件,钢,水龙头,管,阀门,供水,扳手收紧
1024x768 - 168KB - JPEG

德国工人拧螺栓拧三圈回半圈,怎么回事呢?
898x382 - 40KB - JPEG

螺栓连接键插画
200x300 - 21KB - JPEG

螺栓连接相关问答

暂无相关问答

大家都在看

相关专题