消音器的原理_消音器价格

消音器的原理相关图片

【装备】消音器--让声音尽量低调的工具
500x179 - 19KB - JPEG

进气消声器与排气消声器原理你了解吗?
640x480 - 34KB - JPEG

消音器原理
550x336 - 61KB - JPEG

消音器原理
454x340 - 27KB - JPEG

汽车消音器工作原理分析-易配在线
464x245 - 57KB - JPEG

消音器工作原理_北迈百科
484x419 - 71KB - JPEG

汽车消声器的原理和结构有哪些?
580x382 - 38KB - JPEG

单缸柴油机不锈钢消声器宁波东风消音器
350x350 - 30KB - JPEG

【日本smc消声器的工作原理消声器价格
350x338 - 19KB - JPEG

消音器原理,消音器的原理_大杂烩_比一比
667x442 - 33KB - JPEG

汽车消声器消音器的基本原理和结构图
407x272 - 10KB - JPEG

枪械消声器的原理是什么?难怪有些游戏
400x300 - 14KB - JPEG

四川久经牌风机消音器 锅炉蒸汽排气消声
600x736 - 45KB - JPEG

消音器_消音器生产厂家_汽车消音器_淘宝
500x375 - 75KB - JPEG

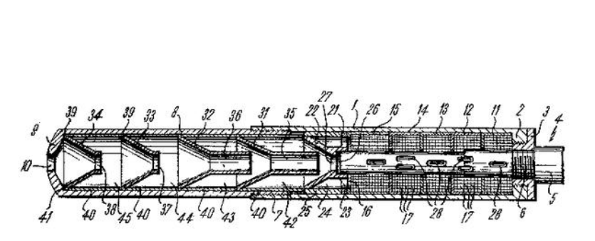
手枪消声器消声的原理是什么?
835x338 - 156KB - PNG

消音器的原理相关问答

简介:消音器((Muffler))是阻止声音传播而允许气流通过的一种器件,是消除空气动力性噪声的重要措施。消音器是安

消音器消音的原理是什么?
答:消音原理就是减弱气体冲出枪口时产生的空气振动 构造其实并不难,主要结构就是将急速向前运动的高温燃气分散吸收,缓和枪口燃气 消音器内部有很多‘隔室’,
汽车消声器原理
答:汽车消音器的原理就是其排气管是由两个长度不同的管道构成,这两个管道先分开再交汇。由于两个管道的长度差值等于汽车所发出的声波的波长的一半,使得两列声波在叠加时
消声器的工作原理
答:就可以控制消声器的频谱性能,使其在需要的频率范围内获得良好的消声效果。 小孔消声器的结构是一根末端封闭的直管,管壁上钻有很多小孔。小孔消声器的原理是以喷气噪
摩托车消声器原理图!那里有的看
答:从而达到消声目的。它比较适用于消除低中频噪声,而对高频噪声的消声作用较差。 3.阻抗复合式消声器 这种消声器是将阻性消声器和抗性消声器的消声原理通过适当结构组
柴油发动机消音器工作原理图
答:柴油发动机消音器其主要原理是利用多孔吸声材料来降低噪声。把吸声材料固定在气流通道的内壁上或按照一定方式在管道中排列,就构成了阻性消音器。当声波进入阻性消声
汽车排气管的消声器原理
答: 利用声的反射与隔音材料的吸收从而使噪声消失。
消音器的原理是什么?
答:无声枪的奥妙是在它的枪管外面有一个附加套筒,叫做消声筒。消声筒前半部分长出枪口,其结构有好多种。有的是由十几个消音碗连接而成,消音碗好似无底的小碗装在消音筒内
摩托车消音器的设计原理
答:消声器的原理构造比较简单,只是用隔板分成数个膨胀室,当气体通过消声器时,尾气逐次经过各腔室膨胀降压,同时在消声口前端用橡胶密口垫封闭,当气体冲开封口垫时才缓慢地
消音器的原理是什么?
答:消声器的消声原理:是利用腔与管的适当组合,来达到两种作用来消声的。 一是利用管道截面突变(即声抗的变化)使沿管道传播的声波向声源方向反射回去,从而使声能反射回原处
自动步枪消音器原理是?
答:再出消声器的气流已经大大减弱,产生的震动减小很多,声音自然就小。 这就是消声器的简单原理。其实只要在枪口装上一个小瓶子或筒状物,也会有一定的消声效果。

大家都在看

相关专题