
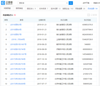
贾跃亭新增失信被执行人 累计总执行标的金额
373x268 - 23KB - PNG

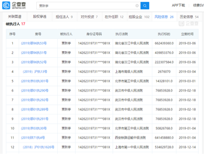
贾跃亭新增失信被执行人 累计总执行标的金额
353x305 - 64KB - PNG

乐视网新增3条被执行人信息,2019累计执行标
800x410 - 40KB - JPEG

贾跃亭新增失信被执行人 累计总执行标的金额
745x536 - 115KB - PNG
贾跃亭新增失信被执行人,累计总执行标的金额
640x553 - 55KB - JPEG

春这三人上黑榜,其中最高涉案标的金额1713
960x720 - 71KB - JPEG
贾跃亭新增失信被执行人 累计总执行标的金额
745x536 - 42KB - JPEG

案件 终本案件中的执行标的为10万元,未履行金
540x1080 - 57KB - JPEG

飞鸽被卖!负债近5000万,拟转让100%股权!它是
550x498 - 43KB - JPEG

员工持股计划激励1200名员工支持转型_飞扬投
500x238 - 25KB - JPEG
七旬老太欠款8亿成老赖是咋养成的?
530x397 - 41KB - JPEG

贾跃亭新增失信被执行人 累计总执行标的金额
399x301 - 87KB - PNG
涉案标的金额最高1259万元!泉州曝光一批被执
350x262 - 68KB - JPEG

最新!下沙1月新增失信被执行人名单公布,最高
640x479 - 49KB - JPEG
涉案标的金额最高1259万元!泉州曝光一批被执
350x262 - 67KB - JPEG