篇文章的相关参考文献:魏莹网
更新34项专利
近日,美国专利商标局发布了一批全新的AR/VR专利。以下是Yingwei.com的校勘,共34篇文章欲了解更多专利信息,请访问https://patent.yivian.com/,特拉维夫专利委员会进行检索,或加入特拉维夫AR/VR专利交易所微信群。
1。sRGB空间Oculus专利/抖动的专利

描述了一种用于在非线性空间中执行抖动的计算机实现的方法,该方法可以包括:接收包括像素数据的非线性SRGB编码数据流作为输入;为非线性sRGB编码数据流生成抖动掩码;根据标量抖动算法或矢量抖动算法,生成的抖动掩码用于抖动非线性sRGB编码数据流;线性化抖动的非线性sRGB编码数据流可以包括将线性化的RGB编码数据流提供给显示屏进行显示
2。专利“oculus专利/装置、系统和方法”中描述的用于在显示屏的旋转显示区域中显示图像的显示设备

可以包括具有前表面和位于前表面上并发射图像光的至少一个显示区域的显示屏该至少一个显示区域包括排列成多个像素行和多个像素列的多个像素显示设备可以同时包括用于驱动至少一个显示区域的多个像素的显示驱动电路
3。专利“oculus专利/用于确定移动人工现实用户的安全边界的系统和方法”

中描述的方法可以包括经由深度感测子系统感测与三维空间中真实环境的物理表面相对应的多个位置;确定真实环境中的主导平面;定义与主平面对齐的三维网格;基于相对于主平面的多个位置确定三维网格中的一组网格坐标;根据网格坐标,确定头部显示器要采用的安全边界,并且通知用户用户接近物理表面
4。在“增强现实系统中引导音频的魔术领先专利/技术”

专利中描述的助听器包括配置成检测终端用户对真实声源的注意力的传感器。麦克风组件,其被配置为将声音转换成电信号;扬声器,其被配置为将电信号转换成声音;以及控制子系统,其被配置为根据检测到的关注来修改麦克风组件的最大灵敏度的方向和/或距离该专利中描述的虚拟图像生成系统包括用于存储三维场景的存储器;传感器,被配置为检测终端用户对声源的关注;扬声器,被配置为向终端用户传输声音;控制子系统,被配置为响应于感兴趣的检测优先传输来自声源的声音,并用于渲染场景图像帧;以及显示子系统,被配置为向终端用户顺序显示图像帧
5。“用于三维图像的魔法树叶专利/显示器”

专利描述了一种用于显示物体的三维表示的设备和方法该设备包括可旋转结构、马达和设置在可旋转结构上的多个光场显示器该设备可以存储要显示的光场图像处理器可以驱动马达旋转可旋转结构,并且部分地根据旋转角度将光场图像映射到每个光场子显示器,并且部分地根据映射的光场照亮光场子显示器该设备还可以包括显示面板,其中显示面板从垂直于参考观察方向的平面弯曲该设备同时包括布置在显示面板上的多个光场显示器
6。“魔力飞跃专利/增强现实身份验证”

增强现实设备可以呈现虚拟内容,从而为用户的物理环境提供增强的体验例如,ARD可以检测视野中的人和物理对象之间的链接,或者可以检测文件之间的链接该链接可用于验证或文档验证
7。“magic leaf专利/波导s中的波长复用”

堆叠波导组件可以具有多个波导堆叠每个波导叠层可以包括多个波导,其中第一波导叠层可以与三种不同颜色中每种颜色的第一子颜色相关联,第二波导叠层可以与三种不同颜色中每种颜色的第二子颜色相关联例如,第一组波导可以分别与440纳米、520纳米和650纳米的蓝光、绿光和红光耦合第二组波导可以分别耦合到450纳米、530纳米和660纳米的蓝光、绿光和红光
8。“虚拟现实或增强现实显示系统中磁性和光学传感器的魔力飞跃专利/校准”的

专利描述了一种用于校准虚拟现实或增强现实设备中磁性和光学传感器的系统。该系统可以包括控制部件、波形发生器和电驱动器波形发生器可以在控制组件的控制下产生校准波形该系统还可以包括由对应于校准波形的电流激励的导电回路控制组件可使波形发生器产生第一校准波形以校准显示设备中的第一类型磁传感器,并产生第二校准波形以校准显示设备中的第二类型磁传感器该系统还可以包括一个或多个相对于导电回路具有已知空间关系的光学基准标记光学基准标记可用于校准一个或多个光学传感器
9。在“魔力飞跃专利/用于将识别的对象数据插入虚拟世界的方法和系统”

专利中描述的虚拟内容呈现方法包括:捕获用户视野的图像;根据捕获的图像提取一组地图点;根据提取的地图点集识别对象;检索与所识别的内容相关联的语义数据;将语义数据附加到与识别的对象相关联的对象数据,并将识别的对象数据和附加的语义数据插入到虚拟世界模型中
10。“脸谱网专利/传输聚合视频数据的系统和方法”

传输摄像机数据的系统可以包括:识别至少两个视频数据流,每个视频数据流由不同的视频源生成;接收至少两个帧的视频数据集,其中每个视频帧恰好包含来自至少两个视频数据流的一个帧;将来自所述至少两个视频数据的帧集放置在图像中;以及发送包含内容的图像
11。在一个实施例中,一种方法包括接收与360度视图的至少一部分相关联的第一视觉信息;确定第一视觉信息不足以在显示设备上呈现完整的360度视图;接收第二视觉信息,其中所述第二视觉信息包括被配置为从一个或多个第二用户呈现的一个或多个视频显示信息;发送渲染信息,其中所述渲染信息包括被配置为在显示设备上渲染统一的360度视图的信息其中,统一的360度视图具有基于第一视觉信息的第一部分和基于第二视觉信息的第二部分
12。一种用于虚拟现实系统的手持控制器,包括天线、手柄、耦合到手柄的环以及环外表面上的多个发光二极管通过天线从远程摄像机接收无线信号多个发光二极管的发光时间对应于远程相机捕获手持控制器的图像的时间。
13。“脸谱专利/灰度电子束光刻”

调制光束移动台组件用于电子束光刻制造光学器件光学设备可以具有不同的间距以增加角度选择,从而增加进入虚拟现实和/或增强现实系统窗口的光
14。在“基于编码颜色图案的透镜对准的脸谱专利/设备和方法”
专利中描述的头显示器包括:第一发光元件,被配置为透射具有第一颜色的第一光;第二光元件,被配置为透射具有第二颜色的第二光;第一透镜,被配置为沿第一方向引导第一光,沿第二方向引导第二光;和第一组一个或多个透镜第一组一个或多个透镜用于将来自第一透镜的第一光和第二光引导到用户的第一只眼睛该专利中描述的方法包括通过第一透镜和第一组一个或多个透镜传输第一光和第二光,并将第一光和第二光引导到用户的第一只眼睛该专利还描述了一种用于调节一个或多个透镜位置的方法
15。脸书专利/具有增强现实可调掩模的显示器

专利中描述的显示设备包括二维瓦片阵列每个瓦片包括二维像素阵列和二维可调掩模阵列每个像素被配置成输出光,使得二维像素阵列输出相应的光图案可调掩模的二维阵列被配置成有条件地阻挡光透射以显示增强现实图像
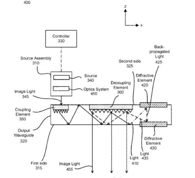
16。“脸谱专利/光栅波导显示器,提高衍射效率”

波导显示器,用于向用户呈现媒体内容波导显示器包括光源组件、输出波导和控制组件光源组件沿着至少一个维度投射图像光输出波导包括具有两个相对表面的波导体输出波导包括输入区、输出区、位于输出波导第一侧的第一衍射元件和位于第二波导第二侧的第二衍射元件输出区域位于输入区域与第一和第二衍射元件之间第一衍射元件和第二衍射元件将扩展图像光的第二部分反射回输出区域控制组件控制光源组件的扫描以形成二维图像
17。Facebook专利/扫描组件在带有大眼睛框

近眼显示器的指南显示器中进行分级,用于向用户呈现媒体内容。近视显示器包括光源组件、扫描组件、一个或多个输出波导和控制组件光源组件发射至少部分相干光扫描组件包括与波矢量相关联的光栅元件,该波矢量将发射的光衍射成多个光束,并根据显示指令扫描光束输出波导包括多个输入区域和一个输出区域每个输入区域包括与接收相应光束的相应波矢量相关联的一个或多个耦合元件输出波导在至少两个维度上扩展光束,以形成每个相应光束的扩展光控制部件控制扫描部件的扫描以形成二维图像
18。“脸谱专利/具有波导和透镜组的多平面显示器”

近端眼显示器包括显示组件、眼跟踪系统和多焦点模块显示组件根据多焦点命令发射特定焦距的图像光该显示组件包括聚焦调节透镜和波导显示器,该波导显示器以光学系列排列并被配置为根据多聚焦命令发光焦点调节透镜的不同组合与不同的焦距相关联眼睛运动跟踪系统确定用户眼睛的注视点跟踪信息多焦点模块根据注视点跟踪信息生成多焦点指令,并将多焦点指令提供给显示组件
19。“用于控制波导显示器亮度均匀性的脸谱专利/液晶结构”

近眼显示器包括发射图像光的光源组件、基于波导的显示组件、耦合到显示组件的控制组件以及光学组件基于波导的显示组件包括液晶波导、输入区域和输出区域液晶波导包括第一玻璃层、第二玻璃层以及在第一和第二玻璃层之间的液晶层液晶波导将通过输入区域输入耦合的图像光传播到输出区域,该输出区域根据传输指令将图像光输出耦合到用户的眼睛控制部件产生发射命令并将发射命令提供给液晶波导,从而产生具有基本均匀亮度的图像光
20。“脸谱专利/带有用于有趣卡住的卡住组件的易碎装置”

专利描述了一种触觉组件,其包括锚定在用户手背上的阻挡组件。阻挡组件具有阻挡杆;致动器,用于将阻挡杆从第一位置移动到第二位置;以及响应于用户第一手指的移动来回移动的可滑动构件触觉组件同时包括具有相对的第一端和第二端的细长元件,其中第一端锚定到用户第一手指的预定部分,第二端连接到可滑动构件当致动器将阻挡杆移动到第二位置时,阻挡杆与可滑动构件的一部分接合,以防止可滑动构件、细长元件和用户手指在一个方向上移动
21。在全向视频
专利中的微软专利/跟踪感兴趣对象中描述的设备包括至少一个处理器、至少一个存储器、耦合到处理器的显示元件和耦合到处理器的用户输入元件计算机程序代码,以及配置有所述至少一个处理器的所述至少一个存储器,并且使得所述设备:播放包括一系列图像帧的全向视频;从用户输入元件接收用户输入,该用户输入包括在图像帧中选择感兴趣的对象;在至少一个图像中识别感兴趣的对象;在播放的后续图像帧中跟踪选定的感兴趣对象;并且调整后续图像帧的显示部分,以确保感兴趣的对象保留在显示部分中
22。在“具有结构光和泛光的微软专利/深度图”

专利中描述的一种方法包括接收由预定结构光图案和泛光照明照亮的场景图像;根据接收到的场景图像生成场景的活动亮度图像;以及根据接收到的图像和运动亮度图像生成场景的深度图
23。“谷歌专利/增强环境意识系统”

专利中描述的增强环境意识系统主要用于向用户呈现重要声音一方面,一种方法包括检测当前听觉环境中不存在的新声音;将被确定为新声音特征的电输入信号调整到所生成的调整后的电信号;根据调整后的电信号和来自非新声音特征的电输入信号生成电输出音频;向音频输出换能器提供电输出信号
24。《谷歌专利/方法、系统、专利

中描述的方法和用于将指纹转换成检测到的未分割媒体内容项的媒体包括接收将规避技术应用于一个或多个视频内容项的相关标准,其中该标准包括描述规避技术的滥用标准和一个或多个视频内容项的转换;生成包括规避技术滥用标准的描述的至少一部分的滥用查询;响应于来自多个视频内容项的滥用查询,确定视频内容项的子集;变换子集中的每个视频内容项,并获得变换后的视频内容项;为每个变换的视频内容项目生成生成信息指纹;将信息指纹与参考视频内容项目的多个相关联的信息指纹进行比较,以确定转换后的视频内容项目是否匹配参考视频内容项目之一
25。“谷歌专利/共享虚拟现实”

专利描述了一种沉浸式3D虚拟现实共享程序该系统包括内容控制组件,其被配置为确定物理空间中参考点和边界的物理位置,并将它们映射到虚拟世界中的对应点和边界用户设备相对于参考点和边界的物理位置和方向确定了3D虚拟世界中相应的位置和方向随着用户设备在物理世界中移动,3D虚拟世界相应地更新其位置并呈现其表示
26。索尼专利/用于向用户呈现气味的信息处理设备和方法

专利中描述的信息处理组件附接到向用户呈现气味的气味呈现组件信息处理组件获取在目标空间中再现空间气味信息的指令,并通过该指令指示气味呈现组件向用户呈现可感知的气味
27。索尼专利/基于摄像头的头盔显示器

专利用户安全机制中描述的方法和系统用于在游戏期间向用户发出安全警告。游戏被执行,使得游戏的交互场景被传输到头部显示器以供显示。确定真实世界环境的三维空间中的头部显示坐标以识别用户的当前位置在游戏执行期间,通过识别头部显示器的一个或多个坐标变化来确定头部显示器的移动当确定用户正在接近真实世界的交互空间边界时,警告信号被放松到头部显示器以通知用户。
28。在“索尼专利/显示设备”

专利中描述的显示设备包括框架、附接到框架并用于左眼的图像显示组件以及附接到框架并用于右眼的图像显示组件每个图像显示组件包括图像形成组件和光学系统光学系统被配置成将图像从图像形成组件引导到用户的瞳孔该光学系统包括反射器和透镜组
29。索尼专利/头戴式显示器

专利中描述的头显示器包括显示单元、检测器和第一控制单元显示单元可以安装在用户的头部,并且可以向用户提供真实空间中的视野检测器检测显示单元围绕至少一个轴的方位角第一控制单元包括面积限制器、存储单元和显示控制单元面积限制器可以在显示单元周围的三维坐标中沿着一个轴限制视场的显示面积存储单元存储图像显示控制单元被配置为根据检测器的输出在视场中显示对应于方位角的图像
30。索尼专利/图像处理设备和图像处理方法、显示设备和显示方法以及图像显示系统
的图像处理组件包括:姿态信息获取单元,其获取用户头部的姿态信息;视角切换单元,用于切换显示图像的视角;渲染处理单元,其根据方向信息和视角生成显示图像;以及传输单元,其将生成图像传输到显示组件
31。“索尼专利/控制装置”

控制装置连接到用于检测用户手部运动的装置,并用于控制虚拟人物的动作,同时根据手部运动的检测结果确定检测到的动作是第一指示动作还是第二指示动作第一指示动作说明字符手势和用户手势之间的匹配第二指示动作说明字符手势和用户手势之间的差异当确定检测到的用户手势是第一指示动作时,控制设备实现字符手势和检测到的用户手势之间的匹配当确定检测到的用户手势是第二指示动作时,控制设备使角色执行不同于手运动的动作
32。在“索尼专利/头戴显示器到Emfield控制器时钟同步”

专利中描述的系统包括:执行交互式应用并生成和发送图像帧的计算组件;接收并呈现图像帧的头部显示,其中头部显示包括发送磁信号的磁发射器,该磁信号具有与接收的图像帧同步的同步码;包括用于检测磁信号的磁传感器的控制器控制器处理检测到的磁信号以确定磁位置数据并读取同步代码控制器使用同步编码来生成相应的定时数据控制器将磁位置数据和相应的定时数据发送到计算部件计算组件使用磁性位置数据和相应的定时数据来确定控制器的位置和/或方向
33。“索尼专利/用于虚拟现实交互的设备从内向外的跟踪位置”

专利描述了一种生成交互空间的方法一种方法包括以下操作:将第一设备与3D空间中的参考点相关联;根据第一设备捕获的惯性信息,利用航位推算,计算第一设备在三维空间中的位置此外,该方法包括用第一设备的照相机捕获图像,并识别图像中一个或多个静态特征的位置。根据所识别的一个或多个静态特征的位置来校正第一设备的位置,并且在第一设备的显示器中呈现交互式场景的视图其中交互式场景与参考点相关联并且包括虚拟对象
34。英特尔专利/在计算环境中使用德克萨斯着色器的多分辨率延迟着色

专利描述了一种使用德克萨斯着色器在计算环境中促进多分辨率延迟着色的机制。一种方法包括便于计算图形流水线中第一通道中的阴影率,其中阴影率与多个像素相关该方法还可以包括使用着色速率促进第二通道中的纹理元素着色操作,其中第一通道与第二通道分离,并且在第二通道之前执行