
等待免小号QQ空间说说刷赞器2.7 永久免费版
438x588 - 39KB - PNG

QQ空间刷赞软件免费版|QQ空间主页赞在线刷
519x340 - 77KB - PNG

qq空间说说刷赞网页版|在线无需密码无限刷Q
569x564 - 100KB - JPEG

qq空间说说刷赞免费版
720x1280 - 40KB - JPEG

等待免小号QQ空间说说刷赞器v2.0 绿色免费版
435x550 - 36KB - PNG

光辉QQ空间主页刷赞下载(QQV8空间刷赞软件
446x373 - 40KB - JPEG

qq空间说说刷赞免费版
256x256 - 7KB - PNG

qq空间说说刷赞免费版
720x1280 - 41KB - JPEG

qq空间刷赞软件免费版在线(20)_QQ好友乐园
826x479 - 44KB - JPEG

千序空间云点赞(在线刷QQ空间留言\/主页赞\/圈
622x408 - 129KB - JPEG

qq空间刷赞软件免费版在线(19)_QQ好友乐园
256x256 - 14KB - JPEG

QQ空间说说刷赞器免费版下载_QQ空间说说刷
434x450 - 39KB - JPEG

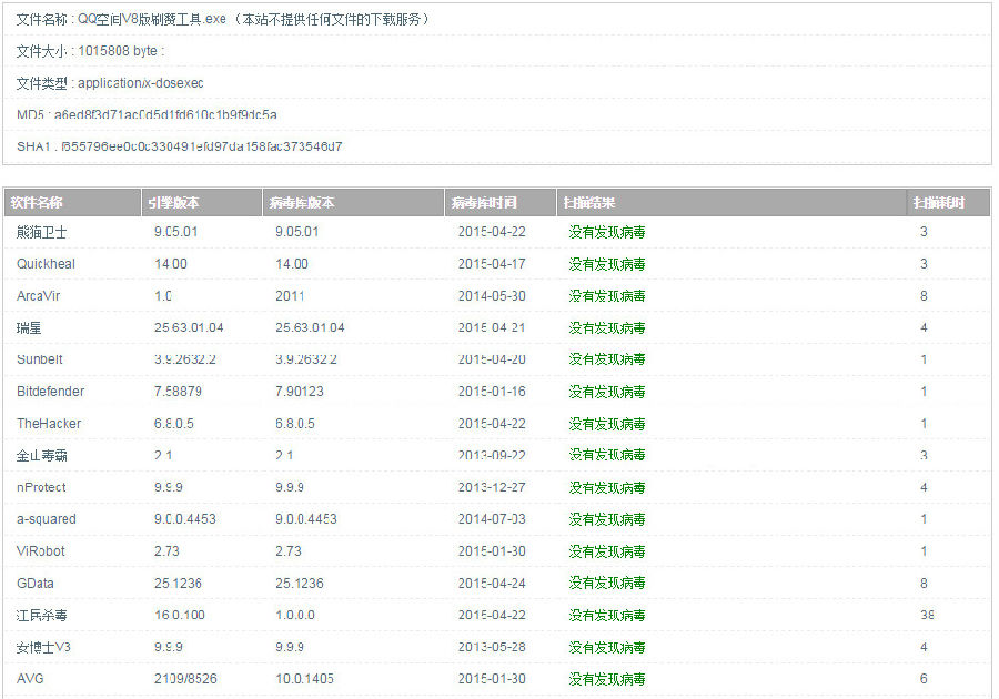
qq空间v8刷赞软件免费版|QQ空间V8版刷赞工
900x630 - 105KB - JPEG

qq空间刷赞软件免费版2014|等待QQV8空间主
405x389 - 80KB - JPEG

QQ空间说说刷赞器免费版 v3.3免费下载
691x704 - 60KB - JPEG
V8QQ空间在线免费刷赞 1.由于腾讯对QQ空间主页赞速度限制,刷赞速度过快可能会被临时屏蔽,建议等待2小时后再新建离线。 2.温馨提示:每天下午12点后刷赞效果比较好。 3
如果软件无法下载,请联系QQ6595504留言,本人将尽快更新(请注明软件名称) 站内最新更新 本站部分内容收集于互联网,如果有侵权内容、不妥之处,请联系我们删除。敬请谅解
查看「qq刷赞大师免费版」安卓应用,下载更新、更全的优质安卓应用就来豌豆荚。 应 QQ名片小精灵作为一款网红爆粉神器,专业刷赞团队。快速提升QQ空间人气,提供名片
说说刷赞软件哪个好?免费刷qq说说赞软件大全为您提供最好用的刷qq空间说说赞的软件下载,无论是等待说说刷赞精灵、在线空间说说刷赞软件、免费刷说说赞网页版还是qq
本专题就向大家推荐了很多好用的QQ空间刷赞软件给大家,帮助大家免费刷赞。 更新时 支持陌生空间留言,评论日志,评论说说等功能,并且支持在线QQ弹窗提示评论。让你的营
狂刷QQ空间说说刷赞软件是一款针对QQ空间说说刷赞的辅助工具,这款狂刷QQ空间说说刷赞软件功能强大、操作简单,用户只需要登录相应的QQ账号,就能快速进行空间说说刷
免费说说刷赞工具秒刷qq空间说说赞是一款一键完成QQ空间说说300个点赞工具下载,唰QQ空间说说赞软件,为大家带来免费刷空间说说赞软件,编已经测试过确实有效目前是1
QQ空间专业说说刷赞助手 v5.0中文免费绿色版,该软件的一大特色就是不需要小号就可以轻松搞定,你只需要点击获取到想要刷的说说即可,让你说说赞人气大增 关注微信公众
1.输入QQ→获取说说→选择说说→开始刷赞!(QQ空间必须允许任何人访问) 2.每个QQ一周可免费刷一次,一次30-300赞! 3.如果你觉得一周一次不过瘾!也可以进入机领商城购买
非凡软件站为您提供较新较全的刷赞软件、刷赞软件免费版2015、qq刷赞软件等相关软 风竹QQ空间刷赞软件是一款用于批量小号刷QQ空间V8空间赞,附加代理和小号管理功