
小白学数据之什么是神经网络
641x361 - 55KB - JPEG

e:深度学习摘眼镜,用集成数据训练神经网络识
600x473 - 28KB - JPEG

e:深度学习摘眼镜,用集成数据训练神经网络识
423x327 - 14KB - JPEG

e:深度学习摘眼镜,用集成数据训练神经网络识
600x328 - 24KB - JPEG

伯克利AI实验室新论文:没有成对训练数据也能
600x364 - 44KB - JPEG

揭秘TensorFlow:Google开源到底开的是什么?
550x207 - 65KB - PNG

ImageDT图片舆情:开启图像大数据的商业应用
552x211 - 26KB - JPEG

聚焦2016,关于语音识别、图像识别及大数据!
501x372 - 41KB - JPEG

大数据合作竞争 中关村硅谷演新双城记
500x480 - 58KB - JPEG

深度学习在数据挖掘的应用
580x271 - 14KB - JPEG

中科曙光联手腾讯布局大数据,政策支持有望开
591x393 - 25KB - JPEG

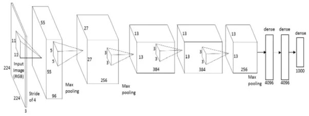
数据科学家必须知道的 10 个深度学习架构
602x226 - 17KB - JPEG

APIX:用互联网技术攻陷个人信评估的数据壁垒
640x309 - 43KB - PNG

深度?|?深度学习教程:从感知器到深层网络
600x484 - 57KB - JPEG

《最新挖矿生态市场数据解析》附完整报告54
943x396 - 45KB - JPEG
上面第五列的数据相对于其它的列的数据就是奇异样本数据,奇异样本数据的存在会引起训练时间增大,并可能引
怎么进行神经网络的数.如果你自己不编程,用matlab的神经网络工具箱,那是非常的简单。所谓数据训练,也
在深度学习领域,为了高效训练深度神经网络,有些实践方法被过来人强烈推荐。从高品质训练数据的重要性、超
在学习了神经网络的诸多案例后,很多同学都想实验一下,用 神经网络训练自己的4564],[1]]】分为训练数据和
使用 tensor 表示数据.例如,通常在构建阶段创建一个图来表示和训练神经网络,然后在执行阶段反复执行图中的
2008年的时候我们写了第一篇在CUDA上进行神经网络训练的文章,当时是斯坦福首先要问他们,目前在训练数据上
5.如果有可以用的已经预训练好的模型,在该模型上仅做fine-tuning,对数据不平衡就有一定的容忍性了。